info

Hex ball-ended screwdrivers DRALL+

Stahlwille
s DPH 569,- Kč
bez DPH 470,- Kč
Není skladem
Produktový list

Popis produktu

Šroubovák s kulovým koncem DRALL+ pro šroubování šroubů s vnitřním šestihranem, úhel natočení 25° na obě strany, chromem legovaná ocel, matně pochromovaná, černý hrot.

Produktové číslo: 10507N KK 3
Výrobce: Stahlwille

Varianty

Číslo Skladem B
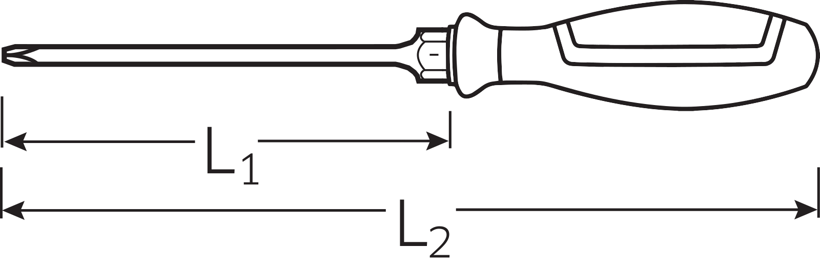
mm
L1
mm
L2
mm
R
g
S
10507N KK 3 0 3 300 385 56 10
10507N KK 5 0 5 300 415 132 5

Naposledy prohlížené