Kulový šestihranný šroubovák DRALL+ 5mm délka čepele 300mm
s DPH
532,- Kč
bez DPH
440,- Kč
Není skladem
Popis produktu
Šroubovák s kulovým koncem DRALL+ pro šroubování šroubů s vnitřním šestihranem, úhel natočení 25° na obě strany, chromem legovaná ocel, matně pochromovaná, černý hrot.
Produktové číslo: 10507N KK 5
Výrobce: Stahlwille
Specifikace
Varianty
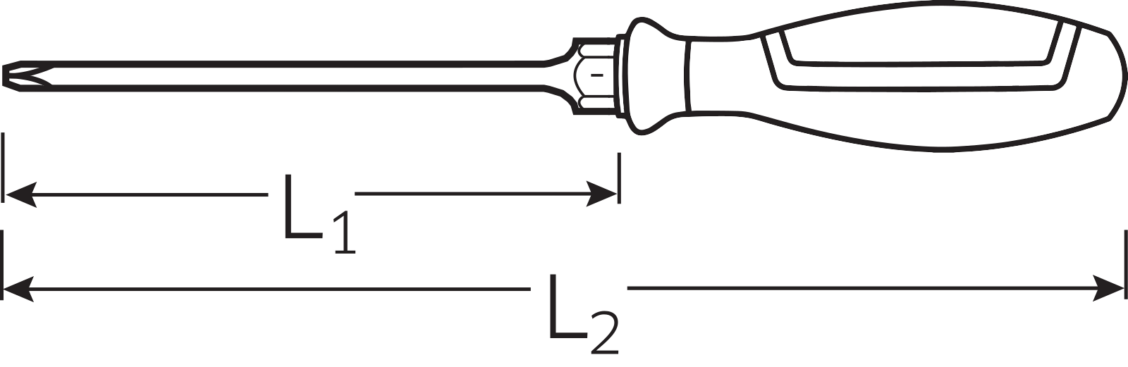
| Číslo | Skladem | B mm |
L1 mm |
L2 mm |
R g |
S |
|
|---|---|---|---|---|---|---|---|
| 10507N KK 3 | 0 | 3 | 300 | 385 | 56 | 10 |
|
| 10507N KK 5 | 0 | 5 | 300 | 415 | 132 | 5 |
|