Křížový šroubovák DRALL+ PH 3 délka čepele 150mm
s DPH
420,- Kč
bez DPH
347,- Kč
Není skladem
Popis produktu
Křížový šroubovák DRALL+ Phillips-Recess®, DIN ISO 8764-1, -2, ISO 8764-1, -2, chromem legovaná ocel, matně pochromovaná, černý hrot.
Produktové číslo: 4630 PH 3
Výrobce: Stahlwille
Specifikace
Varianty
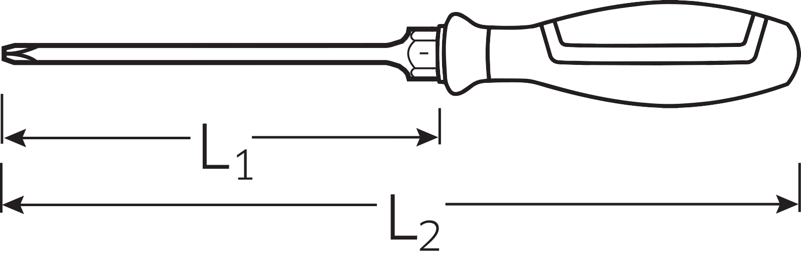
| Číslo | Skladem | PHVelikost | L1 mm |
L2 mm |
R g |
S |
|
|---|---|---|---|---|---|---|---|
| 4630 PH 0 | 0 | 0 | 60 | 145 | 35 | 10 |
|
| 4630 PH 1 | 0 | 1 | 80 | 185 | 44 | 10 |
|
| 4630 PH 2 | 0 | 2 | 100 | 215 | 90 | 10 |
|
| 4630 PH 3 | 0 | 3 | 150 | 275 | 146 | 10 |
|