info

Křížový šroubovák DRALL+ PZ délka čepele 150mm

Stahlwille
s DPH 640,- Kč
bez DPH 529,- Kč
Není skladem
Produktový list

Popis produktu

Křížový šroubovák DRALL+ s úderovým koncem a estihranem, Phillips-Recess®, DIN ISO 8764-1, -2, ISO 8764-1, -2, chromem legovaná ocel, matně pochromovaná, černý hrot.

Produktové číslo: 4632SK 3
Výrobce: Stahlwille

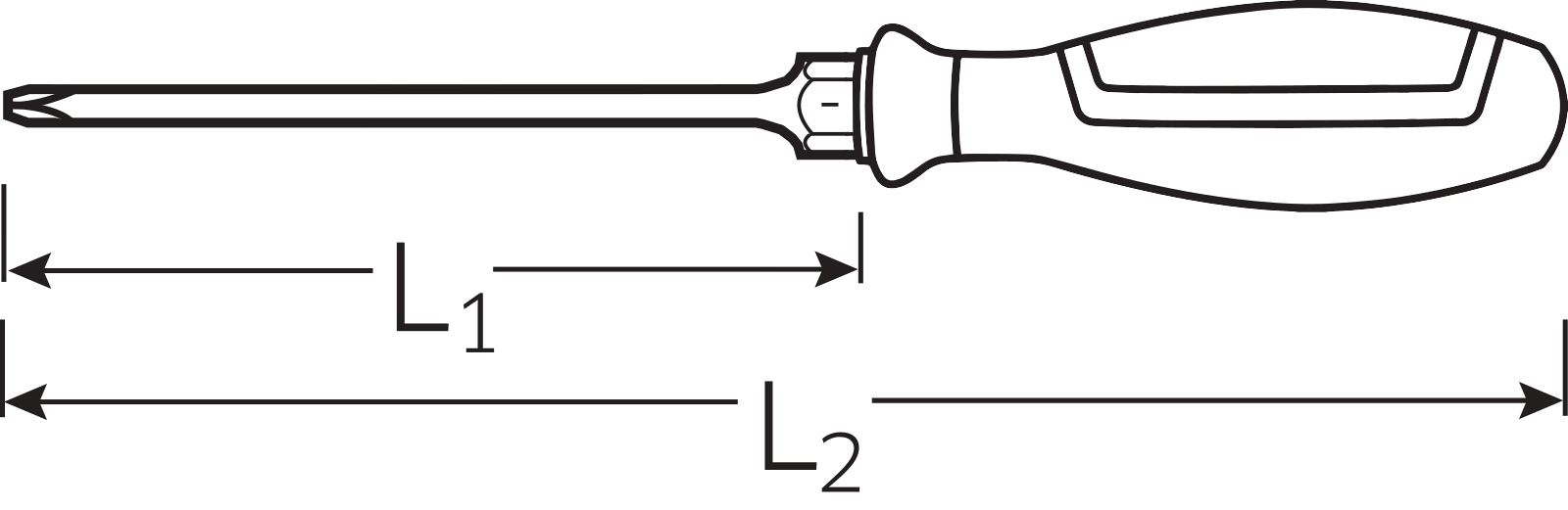
Varianty

Číslo Skladem PHVelikost L1
mm
L2
mm
R
g
S
4632SK 1 0 1 85 190 58 10
4632SK 2 0 2 100 215 130 10
4632SK 3 0 3 150 275 194 5

Naposledy prohlížené

skladem
Wiha

SADA NÁSTAVCŮ FlipSelector

Zvýší vaši efektivnost: Specialista se 120x delší životností* díky optimalizovanému nástavci pro šrouby tvaru T (*ve srovnání se standardním nástavcem Wiha)Sníží vaše náklady: Nástavec lze díky modrému označení rychle a jednoduše najít – s UV světlem dokonce i ve tmavém prostředí. Šetří čas: Jednoduché a rychlé vyjmutí nástavce díky přehlednému uspořádání a automatickému otvírání stisknutím tlačítka.Šetří čas: Žádné dlouhé hledání díky barevným svíticím nástavcům, krátká doba výměny nástavce díky dlouhé životnosti.Použití: Vhodné ke šroubování šroubů tvaru T. Vhodné také pro šroubovák Impact a rázový utahovák.Dosud při kupování nástavců nebylo úplně jasné, které nástavce jsou vhodné pro kterou aplikaci. Wiha končí se složitostí mezi použitým strojem, šroubováním a velkým výběrem různých nástavců. Díky revoluční koncepci nástavců Wiha je pro výběr správného nástavce rozhodující pouze tvar šroubu.Tak se nástavec T ideálně hodí pro šroubování šroubů tvaru T s úhlem 90° mezi závitem a hlavou šroubu. Díky patentované, prodloužené torzní zóně je nástavec také vhodný pro šroubováky Impact a nárazové utahováky a zaručuje 120x delší životnost ve srovnání se standardními nástavci Wiha. Navíc lze barevné nástavce rychle a jednoduše najít a díky barevnému plášti je dobře najdete i ve tmě za pomoci UV světla. Může se tak snížit počet ztracených nástavců a náklady na nové pořízení. Nástavce jsou pro nejběžnější použití uloženy prakticky a kompaktně v XLSelectoru.Obsah:1x Nástavec T 25 mm Phillips 1/4" PH1 3x Nástavec T 25 mm Phillips 1/4" PH21x Nástavec T 25 mm Phillips 1/4" PH31x Nástavec T 25 mm Pozidriv 1/4" PZ21x Nástavec T 25 mm TORX® 1/4" T101x Nástavec T 25 mm TORX® 1/4" T151x Nástavec T 25 mm TORX® 1/4" T201x Nástavec T 25 mm TORX® 1/4" T251x Nástavec T 25 mm TORX® 1/4" T301x Nástavec T 25 mm TORX® 1/4" T401x Držák nástavců magnetický 58 mm 1/4" (01895)1x FlipSelector
s DPH od 894,- Kč bez DPH od 739,20 Kč