Křížový šroubovák 1000V DRALL+ PH 0 délka čepele 60mm
s DPH
268,- Kč
bez DPH
221,- Kč
Není skladem
Popis produktu
Kříový roubovák VDE DRALL+ POZIDRIV/SUPADRIV® Chrome-Alloy-Steel černěná čepel Izolované roubováky VDE napětím 1000V DIN EN 60900 [T AC/1000 V
Produktové číslo: 4670 VDE 0
Výrobce: Stahlwille
Specifikace
Varianty
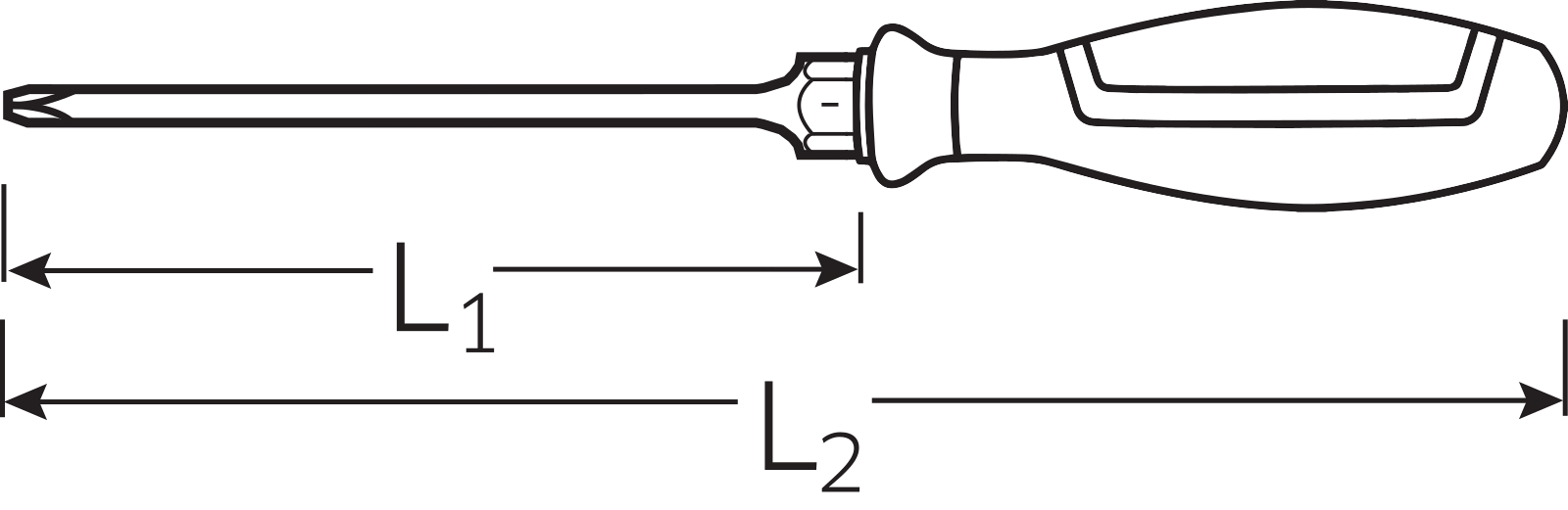
| Číslo | Skladem | PZvelikost | L1 mm |
L2 mm |
R g |
S |
|
|---|---|---|---|---|---|---|---|
| 4670 VDE 0 | 0 | 0 | 60 | 145 | 36 | 10 |
|
| 4670 VDE 1 | 0 | 1 | 80 | 185 | 46 | 10 |
|
| 4670 VDE 2 | 0 | 2 | 100 | 215 | 89 | 10 |
|