info

NÁSTRČNÝ KLÍČ IMBUS, VELIKOST 7

Stahlwille
s DPH 445,- Kč
bez DPH 368,- Kč
SKLADEM
Produktový list

Popis produktu

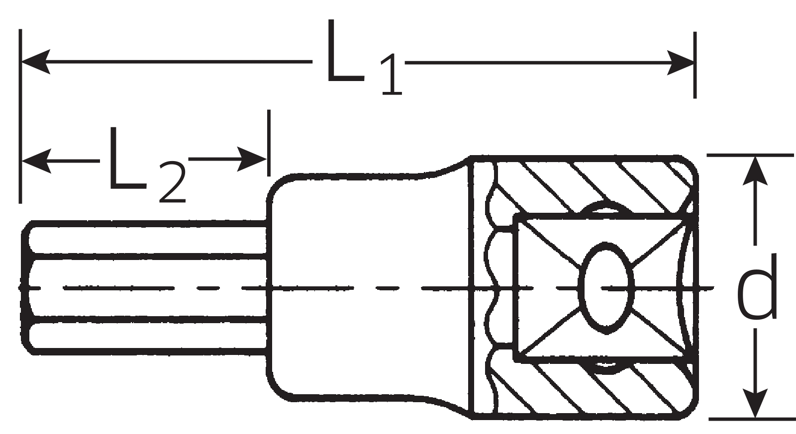
Hlavice IHNEX pro rouby s vnitřním ěstihranem, DIN 7422, chromem legovaná ocel, chromovaná.
Produktové číslo: 54 7
Výrobce: Stahlwille

Varianty

Číslo Skladem B
mm
L1
mm
L2
mm
d
mm
S
R
g
54 7 1 7 60 22 22,7 5 75

Naposledy prohlížené

není skladem
Stahlwille

7707 W - Dílenské elekronické zkušební přístroje

Dílenské elekronické zkuební přístroje Dílenský elektronický kontrolní přístroj pro momentové klíče. Komponenty: ? snímač měrené hodnoty (DBGM) ? konzola ? zobrazovací přístroj (DBGM) ? stojan pro displej (spolu s kabelem 1,5 m) ? spirálový kabel ? napájecí jednotka (110 V-230 V s vyměnitelnými zásuvkovými adaptéry), případně se dá napájet přímo z 12 V rozvodu automobilu ? čtvercový adaptér (č. 7707-2W, 7707-3W) ? fixační přípravek pro testování ve svislé a ve vodorovné poloze, takté pro měření pravotočivé a levotočivé. Měřící jednotky: N·m; ft·lb; in·lb. Lehce vyměnitelné snímače měřených hodnot se pájí na konzolu bezpečnostním připojením QuickRelease. Snímače měřených hodnot plochého provedení nejsou citlivé na příčné síly; automatické rozpoznávání snímačů měřených hodnot je mnohostranné a přátelské k uivateli, nebo se testy sa dají vykonávat v horizontálním a vertikálním směru, poloha displeje se dá také měnit; je k dispozici doplňkový stojan na uchycení displeje s kabelem délky 1,5 m, aby testování bylo dobře sledovatelné také v prípade větích momentových klíčů; měřící rozsah je mimořádně velký, cca od 2 % do 100 % jmenovité hodnoty. Softwer č. 7759-4 včetně USB - adaptéru a zástrčného kabelu umoňuje přenést naměřené hodnoty na PC (bez potřeby dalího napájacího zdroje, (napájení zabezpečeno z počítače). Při rekalibráci jednotlivých naměřených hodnot zůstává testovací přístroj na místě, můe se dál pouívat. Přípustná teplota okolí přístroje je irokého rozsahu (od -20 do +60 °C). Přístroj je certifikovaný pro 2. třídu a dle normy DIN 51309: 2005 a je v souladě se směrnicí DKD-R 3-8: 2003. S certifikátem. Dodává se v pevné krabici z umělé hmoty.
s DPH od 126 677,- Kč bez DPH od 104 692,- Kč