info

Ploché kleště půlkulaté s břitem, zahmuté 45°, 200mm

Stahlwille
s DPH 1 203,- Kč
bez DPH 994,- Kč
Není skladem
Produktový list

Popis produktu

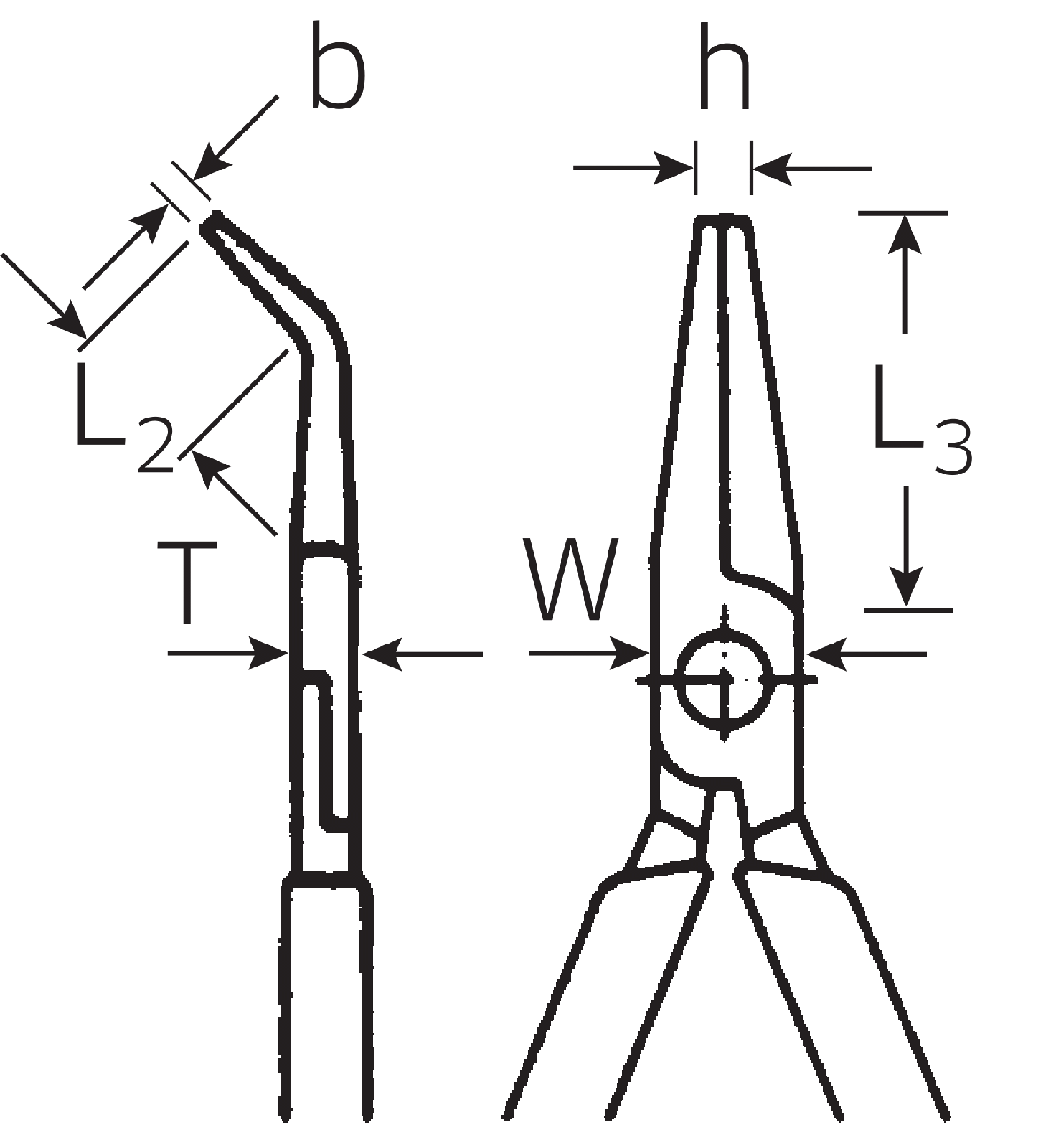
Půlkruhové kletě, típací (kletě pro radiotechniku a telefonní techniku) DIN ISO 5745, tvar B (ohnuté o 45° ve směru ířky), půlkruhové, prodlouené čelisti, s otvory pro fixování matic a kolíků roubů, plochy uchycení s ozubením, přesné stípání tvrdých i měkkých drátů, řezné hrany jsou indukčně kaleny na cca.60 HRC.
Produktové číslo: 6530 5 200
Výrobce: Stahlwille

Varianty

Číslo Skladem L
mm
Činné části Rukojeti L2
mm
L3
mm
W
mm
T
mm
h
mm
b
mm
R
g
6530 5 160 0 160 pochromované vícekomponentní návlek 24 55 16 9 3 2,5 170
6530 5 200 0 200 28 76 17 9 3,5 2,5 210

Naposledy prohlížené

skladem
Wiha

WIHA HASÁK QUICKFIX CLASSIC AUTOMATICKY

Usnadňuje manipulaci: Jednoduché automatické nastavení kloubu s průchozím čepem s jemným odstupňováním.Šetří čas: Rychlé nastavení šířky rozevření užitečné zejména při stále se měnících situacích při aplikaci.Použití: K rychlému a optimálnímu uchopování a přidržování trubek, hranatých profilů a šestihranných matic v instalatérské oblasti.Při instalačních pracích je nutné zpracovávat trubky, matice i kruhové a hranaté materiály nejrůznějších rozměrů Optimální uchopení vám zajistí hasák. Díky možností nastavení s aretací nabízí maximální variabilitu při pracích v instalatérské oblasti, přičemž přesné mechanické nastavení se provádí automaticky při uchopení zpracovávaného dílu. Integrovaná ochrana proti skřípnutí vylučuje poranění zhmožděním. Kleště jsou vybavené kloubem s průchozím čepem, který je díky dvojitému vedení zárukou maximální stability. Štíhlá konstrukce v oblasti hlavy i kloubu navíc zajišťuje snadný přístup ke zpracovávanému dílu, a to i ve stísněných pracovních podmínkách. Rukojeti kleští jsou z protiskluzového plastu a uživateli garantují pevné uchopení i při znečištění olejem či ve vlhkém pracovním prostředí. Samočinné upnutí na trubky a matice navíc zamezuje sklouznutí po zpracovávaném dílu, a tím zaručuje maximálně komfortní práci. Vysoce kvalitní, speciálně tvrzené zuby zajišťují během práce spolehlivé uchopení, a to i po dlouhých letech používání. Robustní hasák nevyvedou z míry ani nečistoty.DIN ISO 8976.
s DPH od 1 320,- Kč bez DPH od 1 091,- Kč