Ploché kleště půlkulaté s břitem, zahmuté 45°, 160mm
s DPH
928,- Kč
bez DPH
767,- Kč
Není skladem
Popis produktu
Popis:
- Půlkruhové kleště, štípací (kleště pro radiotechniku a telefonní techniku)
- DIN ISO 5745
- Tvar B (ohnuté o 45°), půlkruhové, prodloužené čelisti, s otvory pro fixování matic a kolíků šroubů
- Plochy uchycení s ozubením - přesné štípání tvrdých i měkkých drátů
- Řezné hrany jsou indukčně kaleny na cca.60 HRC
Produktové číslo: 6530 6 160
Výrobce: Stahlwille
Specifikace
Varianty
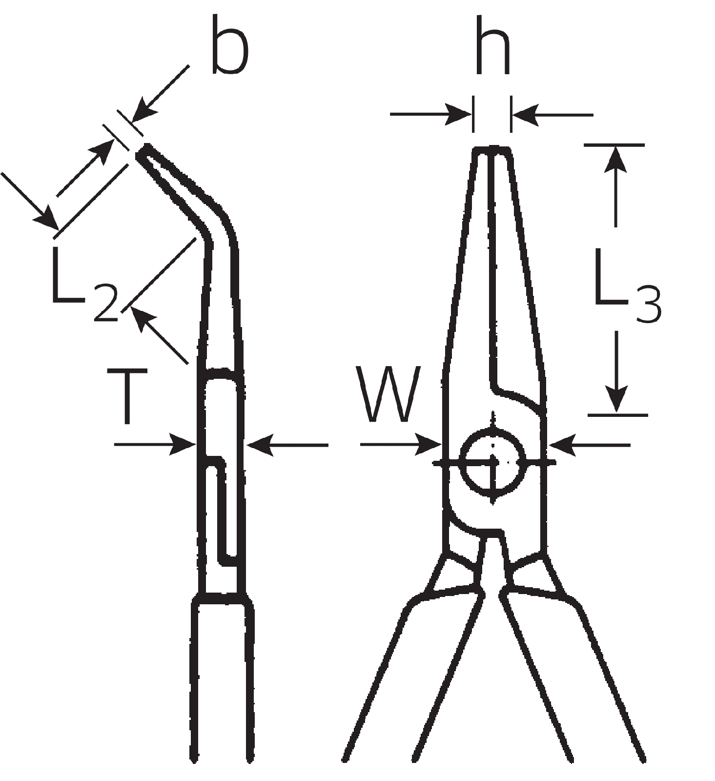
| Číslo | Skladem | L mm |
Činné části | Rukojeti | L2 mm |
L3 mm |
W mm |
T mm |
h mm |
b mm |
R g |
|
|---|---|---|---|---|---|---|---|---|---|---|---|---|
| 6530 6 160 | 0 | 160 | letěné | plastový hladký návlek | 24 | 55 | 16 | 9 | 3 | 2,5 | 146 |
|
| 6530 6 200 | 0 | 200 | 28 | 76 | 17 | 9 | 3,5 | 2,5 | 178 |
|