Ploché kleště půlkulaté s břitem, zahmuté 45°, 200mm
s DPH
1 003,- Kč
bez DPH
829,- Kč
Není skladem
Popis produktu
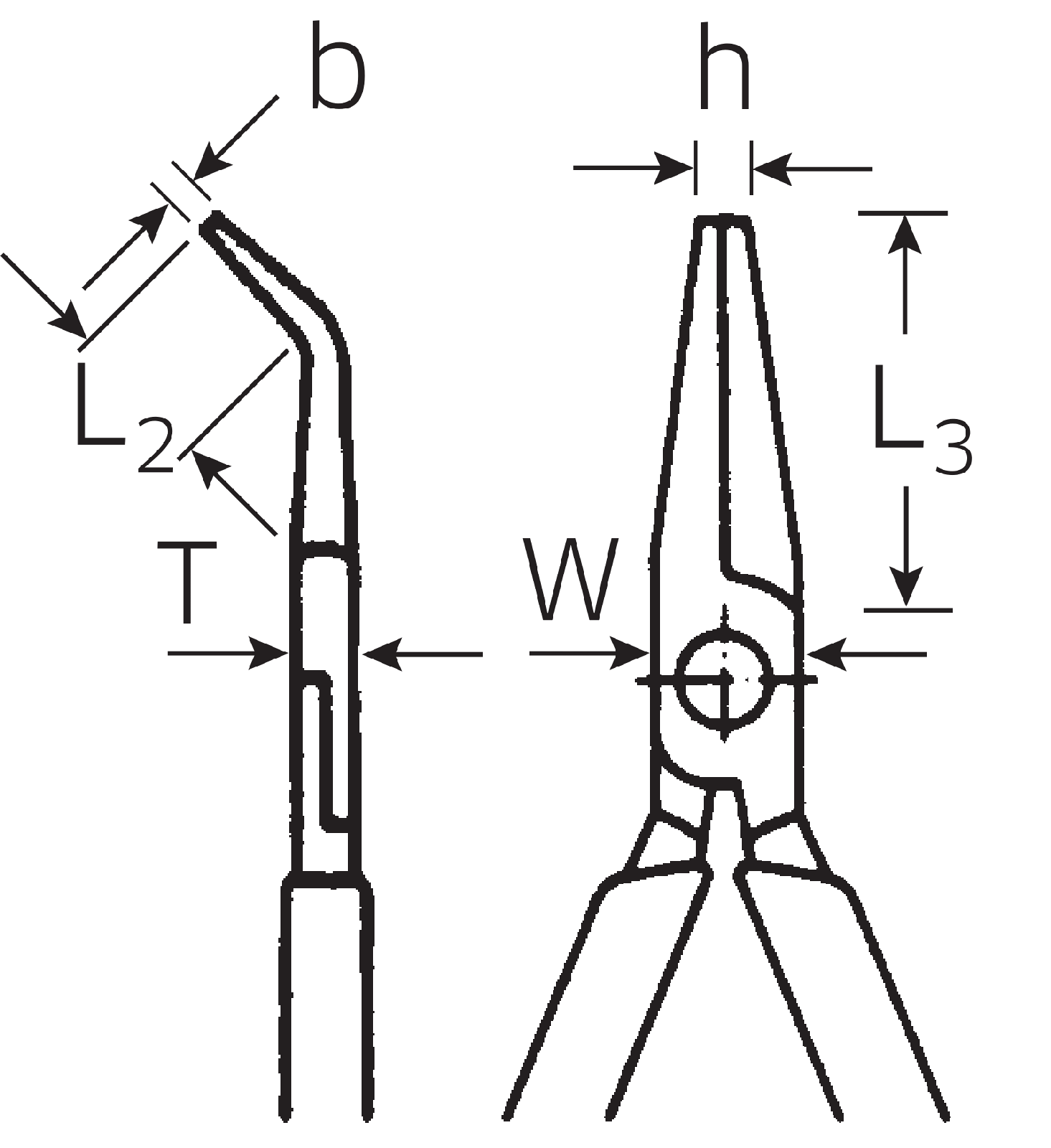
Půlkruhové kletě, típací (kletě pro radiotechniku a telefonní techniku) DIN ISO 5745, tvar B (ohnuté o 45° ve směru ířky), půlkruhové, prodlouené čelisti, s otvory pro fixování matic a kolíků roubů, plochy uchycení s ozubením, přesné stípání tvrdých i měkkých drátů, řezné hrany jsou indukčně kaleny na cca.60 HRC.
Produktové číslo: 6530 6 200
Výrobce: Stahlwille
Specifikace
Varianty
| Číslo | Skladem | L mm |
Činné části | Rukojeti | L2 mm |
L3 mm |
W mm |
T mm |
h mm |
b mm |
R g |
|
|---|---|---|---|---|---|---|---|---|---|---|---|---|
| 6530 6 160 | 0 | 160 | letěné | plastový hladký návlek | 24 | 55 | 16 | 9 | 3 | 2,5 | 146 |
|
| 6530 6 200 | 0 | 200 | 28 | 76 | 17 | 9 | 3,5 | 2,5 | 178 |
|