Ploché kleště půlkulaté s břitem, zahmuté 45°, 160mm, 1000V
s DPH
1 779,- Kč
bez DPH
1 470,- Kč
Není skladem
Popis produktu
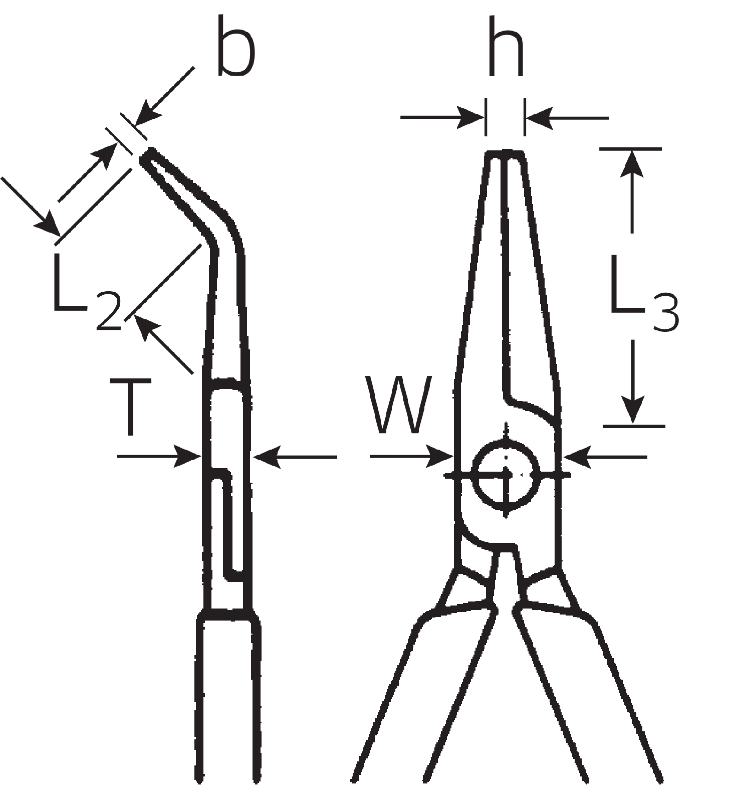
Půlkruhové kletě s řeznýmí hranami (pro radiotechniku a spojovací techniku) DIN ISO 5745, tvar B (ohnuté o 45° ve směru ířky), půlkruhové, s prodlouenou čelistí,, se zářezem pro uchycení matic a roubů, rýhované plochy, řezné hrany pro precizní stříhání mekkých a tvrdých drátů, řezné hrany indukčně kaleny na cca 60 HRC.
Produktové číslo: 6530 7 160 VDE
Výrobce: Stahlwille
Specifikace
Varianty
| Číslo | Skladem | L mm |
Činné části | Rukojeti | L2 mm |
L3 mm |
W mm |
T mm |
h mm |
b mm |
R g |
|
|---|---|---|---|---|---|---|---|---|---|---|---|---|
| 6530 7 160 VDE | 0 | 160 | pochromované | izolované, máčené DIN EN 60900, [T AC/1000 V | 24 | 55 | 16 | 9 | 3 | 2,5 | 185 |
|
| 6530 7 200 VDE | 0 | 200 | 28 | 76 | 17 | 9 | 3,5 | 2,5 | 230 |
|