info

Ploché kleště půlkulaté s břitem, zahmuté 45°, 200mm, 1000V

Stahlwille
s DPH 1 470,- Kč
bez DPH 1 215,- Kč
Není skladem
Produktový list

Popis produktu

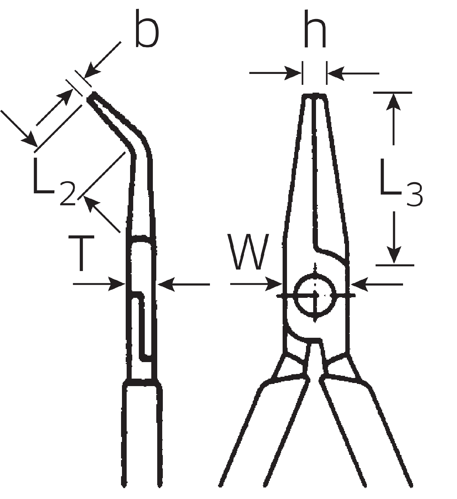
Půlkruhové kletě s řeznýmí hranami (pro radiotechniku a spojovací techniku) DIN ISO 5745, tvar B (ohnuté o 45° ve směru ířky), půlkruhové, s prodlouenou čelistí,, se zářezem pro uchycení matic a roubů, rýhované plochy, řezné hrany pro precizní stříhání mekkých a tvrdých drátů, řezné hrany indukčně kaleny na cca 60 HRC.
Produktové číslo: 6530 8 200 VDE
Výrobce: Stahlwille

Varianty

Číslo Skladem L
mm
Činné části Rukojeti L2
mm
L3
mm
W
mm
T
mm
h
mm
b
mm
R
g
6530 8 160 VDE 0 160 pochromované izolované, s plastovým pouzdrem, DIN EN 60900, [T AC/1000 V 24 55 16 9 3 2,5 154
6530 8 200 VDE 0 200 28 76 17 9 3,5 3 201

Naposledy prohlížené

skladem
Knipex

KLEŠTĚ NA POJISTNÉ KROUŽKY

Popis: • pro vnitřní kroužky v otvorech • s nasazenými hroty pro bezpečnou práci • vysoce zatížitelné při nepřetržitém používání: až 10násobně delší životnost oproti standardním hrotům • šroubovaný kloub: Přesný chod kleští bez vůle • neklouzavý plastový potah rukojetí • těleso kleští: chromvanadová elektroocel, kovaná, kalená v oleji • použité hroty: pružinový ocelový drát, tažený Špičková kvalita • Snadná a bezpečná montáž: přesně lícující nasazené a nalisované hroty z vysoce zhuštěné pružinové oceli poskytují vysokou míru zabezpečení proti přetížení, např. při demontáži uvázlých těsnicích kroužků. Velké dosedací plochy a poloha hrotů znesnadňují odskočení kroužků. Přesnost a dlouhá životnost • Na hroty se používá vysoce zhuštěná pružinová ocel s povrchem bez rýh Díky tomu snesou hroty vyšší dynamickou i statickou zátěž. Hroty jsou při jednorázovém přetížení o 30 % stabilnější oproti běžným kleštím, současně umožňují lepší přístupnost při montáži. Při dynamickém zatížení vydrží hrot až 10krát déle! U přesných kleští na pojistné kroužky se hroty upevňují tvářením zastudena. Hroty jsou neztratitelné! Kleště KNIPEX na pojistné kroužky s ochranou proti roztažnosti • Pro montáž pojistných kroužků v průmyslové sériové výrobě v souladu s normami. Právě výrobci citlivých konstrukčních součástí, které jsou důležité pro bezpečnost (jako např. brzdy nebo převodovky), kladou největší důraz na dodržování norem DIN 471 a 472. Zde je vyžadována montáž kroužků pomocí kleští s ochranou proti roztažnosti nebo s kuželem. Kleště KNIPEX na pojistné kroužky s ochranou proti roztažnosti splňují tento požadavek a kromě toho nabízejí vyšší životnost. Technické specifikace: No. 48 21 J31 EAN: 4003773048657 Kleště: fosfátováno atramentolem na šedo Rukojeti: potaženy plastem který brání sklouzávání Tvar: 2 Norma: DIN 5256 D Pro průměr otvoru: 40 - 100 mm Hroty: 2,3 mm Délka: 210 mm Hmotnost netto: 265 g
s DPH od 780,- Kč bez DPH od 645,- Kč