Čelní štípací kleště pro elektroniku, zapuštené 112mm ESD
s DPH
1 057,- Kč
bez DPH
874,- Kč
Není skladem
Popis produktu
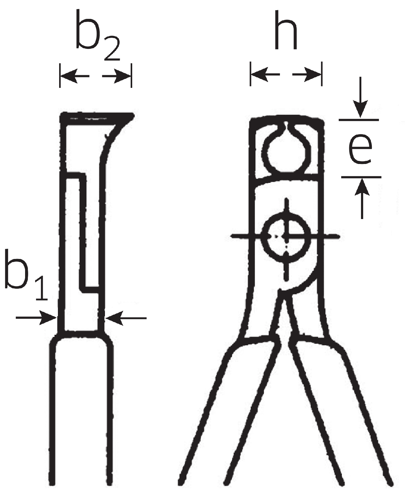
Čelní stípací kletě pro elektroniku [Z [M DIN ISO 9654, jako 6620, ale s přímou řeznou hranou, pro rovné ploné řezy, přímý řez měkkých a středně tvrdých Cu a diodových drátů, legovaná ocel pičkové kvality, řezné hrany indukčně kaleny na cca. 60 HRC.
Produktové číslo: 6621 6 115
Výrobce: Stahlwille
Specifikace
Varianty
| Číslo | Skladem | L mm |
Činné části | Rukojeti | e mm |
h mm |
b1 mm |
b2 mm |
{q | {w | R g |
|
|---|---|---|---|---|---|---|---|---|---|---|---|---|
| 6621 6 115 | 0 | 112 | poliert | plastový hladký návlek ESD | 6,5 | 11 | 7,5 | 11 | 1 | 0,6 | 84 |
|